Nowi adds automatic MPPT to energy harvesting power chip
Dutch chip designer Nowi has launched its latest energy harvesting power management chip (PMIC) with more automated functions and integration.
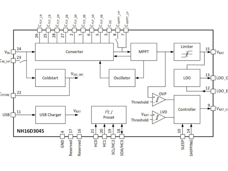
The NH16D3045 Diatom is an inductorless design with integrated power management functions to reduce the implementation cost and area required. The 4x4mm device has a wide power input range from microwatts to milliwatts and a unique fast MPPT power tracking algorithm that can find the optimum efficiency point automatically.
The chip is designed to extract the power output of a wide range of DC energy harvesters including RF and motion energy generators with an input range of 280mV-4.5V. It is designed to charge a variety of energy storage elements such as rechargeable batteries or supercapacitors as well as USB with a power range from 10μW to 30mW. The cold start feature supports batteryless applications to reduce maintenance cost in industry 4.0 and IoT applications with a conversion efficiency of 95%.
The chip includes predefined configurations for and I2C communication to modify the configurations or the MPPT algorithm.
“Diatom’s inductorless design and integrated power management functionalities enable customers to further reduce the implementation cost and area required to achieve top performance,” said Simon van der Jagt, CEO at Nowi.
Related articles
- Nowi teams for world’s smallest energy harvesting NB-IoT node
- Dutch chip designer raises $10m for energy harvesting power
- PMIC eliminates battery replacement in IoT sensor board
- Powi samples its energy harvesting PMIC
Other articles on eeNews Power
- Semtech teams for self-powered energy monitoring system
- Gridspertise, ADI team for self-healing smart grids
- £1.6bn plan to boost EV chargers in the UK
- ST’s first quasiresonant ZVS 50W GaN design
- QuiCur maximises the response performance of power supply chips
If you enjoyed this article, you will like the following ones: don't miss them by subscribing to :
eeNews on Google News
